Обследование кровельного покрытия
![]()
Отчет по результатам проведенной работы:
на комплекс работ по обследованию кровельного покрытия.
Объект расположен по адресу: Московская область, г. Пушкино.
Шифр проекта: 20200123.
Инженерно-техническое обследование кровельного покрытия здания.
Причина обследования: Обследование кровли проводится по причине возникновения протечек, зафиксированных внутри помещений во время дождей и таяния снега по периметру кровельного свеса.
Цель обследования: Качественная оценка технического состояния конструкции кровли и кровельного покрытия; поиск дефектов гидроизоляционного слоя.
Техническое задание.
- Визуальное обследование кровельного покрытия здания, 870 м2.
- Составить техническое заключение по итогам проведенного обследования.
Визуальное обследование – сплошное визуальное обследование конструкций кровли и выявление дефектов и повреждений по внешним признакам с необходимыми замерами и их фиксация.
ОРГАНИХАЦИЯ И ТЕХНОЛОГИЯ ПРОИЗВОДСТВА РАБОТ
- Организация безопастного доступа к месту проведения обследования.
- Визуальный осмотр кровли административно-производственного здания.
- Визуальный осмотр чердачного помещения.
- Сбор данных.
- Анализ полученных результатов обследования.
- Составление технического заключения.
При визуальном обследовании, были произведены работы в объёме достаточном для выявления нарушений и причин возникновения протечек.
- Была изучена проектная документация.
- Составлен ситуационный план кровли и уклоны крыши.
- Были зафиксированы и проанализированы все нарушения.
Существующий кровельный пирог:
![]()
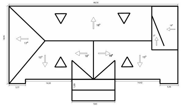
Размеры и уклоны крыши:
![]()
1. Уклоны кровельных скатов
![]()
Комментарий:
СП 17.13330.2017 Кровли, табл. 4.1 - Частично не соответствует
2. Водоотвод
![]()
Комментарий:
СП 17.13330.2017 - Не соответствует
Водоотвод осуществляется в наружный водосборный желоб, водоотведение через водосточные трубы Д140 мм. Частично отсутствуют водосборный желоб и водосточные трубы.
3. Вентиляция кровли
![]()
Комментарий:
СП 17.13330.2017 п. 4.5 - Не соответствует
Отсутствует вентиляция подкровельного пространства: отсутствие вент. каналов на карнизных участках, на коньке кровли, что препятствует выведению конденсата и приводит к его избыточному накоплению в подкровельном пространстве.
4. Отсутствие герметичных примыканий кровли к вертикальным поверхностям
СП 17.13330.2017 п. 7.2. - Не соответствует
Отсутствие эластичных герметизирующих составов.
5. Целостность кровельного полотна
![]()
СП 17.13330.2017 - Не соответствует
Целостность кровельного покрытия нарушена вследствие пробития гвоздями для закрепления ремонтных материалов.
6. Защитное ограждение на кровле
![]()
СП 56.13330.2011 п. 5.3.3 - Отсутствует
7. Элементы для крепления страховочного троса
![]()
СП 17.13330.2017 п. 4.8 – Соответствует
8. Шаг стропильных ног 1300-1500 мм.
![]()
СП 17.13330.2017 - Соответствует
9. Шаг обрешетки 300 – 400 мм, доска обрешетки необрезная 25 мм.
![]()
СП 17.13330.2017 - Соответствует
10. Карнизный свес
![]()
СП 17.13330.2017 3.1.11 - Не соответствует
Конструкция карнизного свеса не защищает стены от дождевой или талой воды.
По результатам проведенного обследования:
- было составлено техническое заключение.
- были разработаны и даны рекомендации по их устранению.
- была составлена дефектная ведомость с объемом работ по ремонту кровли.